面板网站、数据库不显示
针对部分用户出现页面列表无法显示但网站可正常访问、数据库不显示但可正常连接的问题,本文提供对应的排查与恢复方案。
测试机器环境
- 操作系统:Debian 12
- 面板版本:11.6.0
- 面板环境:Nginx + MySQL
问题现象
网站列表显示正常时的状态:

数据库列表显示正常时的状态:

问题原因
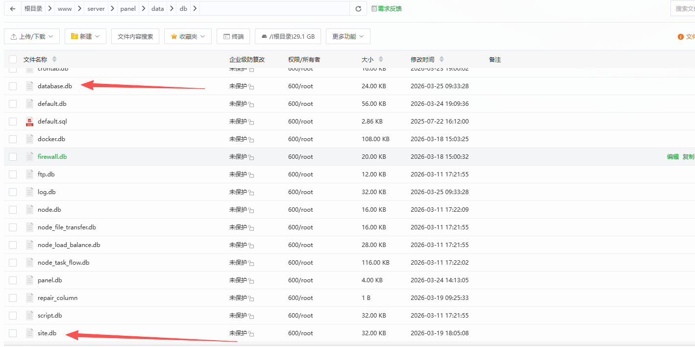
面板的网站和数据库列表数据存储在 /www/server/panel/data/db 目录下的 site.db 和 database.db 两个 SQLite 文件中。

当这两个文件中的数据被清空或损坏后,面板列表将无法显示,但实际的网站和数据库服务不受影响。



此时网站仍可正常访问,数据库也可正常连接:



解决方案
方案一:从面板备份文件恢复(推荐)
若 /www/backup/panel 目录下存在之前的面板备份文件,可通过以下步骤恢复。
图形界面操作
-
在文件管理器中解压前一天的备份压缩包。

-
进入解压目录中的
data/db文件夹,找到site.db和database.db。
-
勾选两个文件,选择【复制】。

-
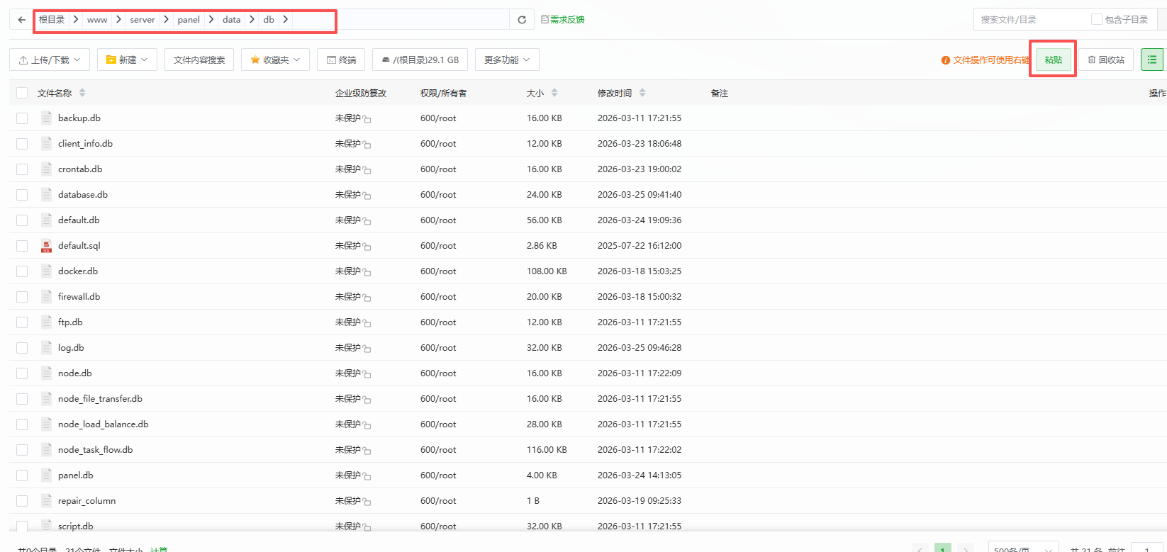
打开
/www/server/panel/data/db目录,选择【粘贴】并确认覆盖。

-
重启面板。

验证结果
重启后,网站列表和数据库列表均已恢复正常:


命令行操作
也可通过命令行完成相同的恢复操作:
# 进入面板备份目录,确认最新备份文件
cd /www/backup/panel
ls
# 解压备份文件(以 2026-03-24 为例)
unzip ./2026-03-24.zip
# 覆盖恢复 db 文件(-f 表示强制覆盖,不提示)
cp -f ./2026-03-24/data/db/site.db /www/server/panel/data/db/
cp -f ./2026-03-24/data/db/database.db /www/server/panel/data/db/
# 重启面板
bt restart


方案二:手动重新录入(无备份时)
若无面板备份文件,且网站和数据库数量较少,可通过手动录入的方式恢复。
-
恢复网站:在面板中重新创建网站,填写原有域名并选择原有网站根目录,其余选项保持默认,点击【确定】即可将网站信息写回数据库。

-
恢复数据库:进入数据库页面,点击【同步数据库】,从服务器将现有数据库信息同步至面板。


此方案仅适用于无备份且网站、数据库数量较少的情况,建议平时做好面板备份。
注意事项
面板备份可通过 bt 18 命令开启或关闭:

不建议关闭面板备份。网站列表、数据库列表等显示数据均依赖 db 文件,一旦数据丢失,只能通过备份文件恢复。